加微信聯系
[HTML]
[XML]
産品展示
新聞中心
技術支持
網站首頁
公司介紹
産品展示
行業資訊
技術支持
樣本下載
産品應用
在線訂購
在線留言
聯系我們
産品分類:
減速機
┊
蝸輪絲杆升降機
┊
轉向箱
┊
蝸輪蝸杆減速機
┊
齒輪減速機
┊
行星齒輪減速機
┊
擺線針輪減速機
┊
無級變速機
┊
大功率減速器
┊
資訊分類
新聞中心
技術支持
産品資訊
和産品相關的技術文章
SWL蝸輪絲杆升降機
TRSS系列絲杆升降機
JWM螺旋升降機
T螺旋傘齒輪轉向箱
ARA螺旋錐齒輪轉向箱
HD螺旋錐齒換向器
R系列斜齒輪硬齒面減速機
S系列斜齒輪蝸輪減速機
K系列螺旋錐齒輪減速機
F系列平行軸斜齒輪減速機
RV系列蝸輪蝸杆減速機
WP鑄鐵蝸輪蝸杆減速機
伺服行星減速機
P系列行星齒輪減速器
X/B系列擺線針輪減速機
WB微型擺線減速機
MB無級變速機
G全封閉齒輪減速電機
MC硬齒面減速器
HB标準工業齒輪箱
Z系列硬齒面圓柱齒輪減速機
當前位置:
網站首頁
>
技術支持
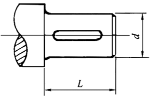
> 圓柱形軸伸(GB1569-90)
圓柱形軸伸(GB1569-90)
Tags:
HD螺旋錐齒換向器
發布時間: 2014-12-07
表8-9圓柱形軸伸(GB1569-90) (mm)
d
L
d
L
基本尺寸
極限偏差
長系列
短系列
基本尺寸
極限偏差
長系列
短系列
6
+0.006
-0.002
j6
16
-
85
+0.035
+0.013
m6
170
130
7
+0.007
-0.002
90
8
95
9
20
100
210
165
10
110
11
+0.008
-0.003
23
20
120
12
125
+0.040
+0.015
14
30
25
130
250
200
16
140
18
40
28
150
19
+0.009
-0.004
160
300
240
20
170
22
50
36
180
24
190
+0.046
+0.017
350
280
25
200
28
60
42
220
30
80
58
240
410
330
32
+0.018
+0.002
k6
250
35
260
+0.052
+0.020
38
110
82
280
470
380
40
300
42
320
+0.057
+0.021
45
340
550
450
48
360
50
380
55
+0.030
+0.011
m6
400
650
540
56
420
+0.063
+0.023
60
140
440
63
105
450
65
460
70
480
71
500
800
680
75
530
+0.07
+0.026
80
170
130
560
600
630
上一篇:
旋轉電機圓錐形軸伸(GB757-93)
下一篇:
圓錐形軸伸(GB1570-90)
相關新聞文章
> 查看更多
軸承異響-關聯部件與設計問題
2026-01-26
滑動軸承主要故障規則
2025-12-15
變頻器應用中的幹擾問題及其對策
2025-11-24
簡述火焰矯正的原理
2025-10-30
車削螺紋時常見故障及解決方法-中徑不正確
2025-09-01
如何實現測量系統在複雜車間環境下的應用
2025-07-09
國産的閉式齒輪油有哪些種?
2025-06-13
錐齒輪承載能力計算方法第1部分:概述和通用影響系數動載系數KV(GB/T10062.1-2003)
2025-04-25
齒輪圓周力是怎麽計算出來的
2025-02-24
什麽是高溫軸承?主要用於哪些領域?
2025-01-16
什麽是軸承規格?
2024-12-10
什 麽 是 滾 動 體 引 導
2024-11-25
【
關閉本頁
】 【
打印本頁
】
電 話:021-22815912 021-22816186 傳 真:021-32050712 郵箱:sales@021jsj.cn
減速機
絲杆升降機
轉向箱
蝸輪蝸杆減速機
Copyright
©
2009-2026
上海恒點傳動設備有限公司
版權所有 地址:上海市金山區亭林鎮林寶路39号 郵編:200442
滬ICP備10206998号-2
友情鏈接
:
機械設備網
|
渦街流量計
|
輸送機
|
變頻控制櫃
|
破碎機
|
工業同城
|
手持終端
|
柴油發電機
|
uv平闆打印機
|
風淋室
|
QUV
|
防火門
|
九愛圖紙
|
感應加熱設備
|
輸送帶廠家
|
噪聲治理
|
西門子plc
|
拖鏈電纜
|
AGV
|
機械雜志
|
現代機械
|
UWB高精度定位
|
×
手機用戶請長(zhǎng)按添加到“照片”,然後(hòu)打開微信掃一掃選擇二維碼。